¡Wave Garden ya está aquí! (Actualizado)
Si ves que un puñado de los mejores surfistas del mundo alucinan con una ola como esta por algo será . Hoy, el proyecto de un piscina de olas artificiales echa a andar públicamente, después de muchos años de desarrollo.
Ha sido presentado hoy a las 11:30 en la Diputación Foral de Gipuzkoa por lo que ya os podemos mostrar algunos detalles.
La ola que habéis visto es real, está en Aizarnazabal, pero solo es un prototipo, un pequeño banco de pruebas para investigar y comprobar empíricamente que las cosas funcionan. Mucha gente que ha visto los vídeos de la piscina comenta que la ola es muy pequeña, y es cierto, pero la misma tecnología que genera estas olas de medio metro podría generar olas de mucho más tamaño. Una más grande, que generará olas de metro y medio, se construirá próximamente, probablemente en Zarautz y será el escaparate de esta tecnología ante el mundo.
Las principales características de esta tecnología consisten en:
- El consumo energético de Wavegarden es muy inferior a las tecnologías de generación de olas ya existentes. Por primera vez se pueden realizar instalaciones rentables orientadas a la práctica de surf.
- Con esta tecnología la distancia que recorre una ola viene únicamente limitada por las dimensiones del terreno disponible (una ola de 1,6 m produce un tubo de 30 s. en una longitud de 250 m).
- Si las dimensiones del terreno lo permiten, Wavegarden ofrece un área para surfistas iniciados y otra para principiantes o niños de manera simultánea.
- La ola se forma limpiamente y rompe con forma de tubo.
- Está especialmente diseñada para ser integrada en entornos naturales.
- Puede ser como las olas del mar, con un recorrido con principio y fin o un bucle cerrado que genera una ola sin fin.
- Esta forma de generar las olas permite un control continuo e instantáneo de la misma. Una ola puede ser idéntica a la anterior o puede experimentar pequeñas variaciones en cualquier punto e instante de la rompiente. Estas variaciones se programan de manera que el surfista pueda o no conocerlas con antelación.
- La definición de todos estos factores se realiza con un estudio particularizado para el cliente.
Una instalación básica podría rondar los tres millones de euros, mientras que otra para la que se prevea "una fuerte asistencia" de practicantes y que incluyera una superficie edificada de mil metros cuadrados, entre otros equipamientos, podría llegar a los cinco o seis millones de euros en función de como se quiera "ordenar" la instalación.
Echadle un vistazo a la patente de este invento, donde se explica prácticamente todo. La tenéis abajo.
Aquí tenéis la nota de prensa
Wavegarden®, nueva tecnología que crea olas ideales para la práctica del surf
Instant, una innovadora ingeniería ubicada en la costa vasca del norte de España, ha anunciado hoy el lanzamiento de su nuevo Wavegarden una revolucionaria tecnología para la generación de olas para la práctica del surf.
Que es Wavegarden?
Wavegarden genera olas de características ideales para la práctica del surf y un amplio espectro de deportes acuáticos. Wavegarden posibilita crear un destino de surf en cualquier sitio del planeta más allá del océano y hacer surf en cualquier momento.
La tecnología patentada de Wavegarden puede ser aplicada a una extensa variedad de cuerpos de agua, incluyendo lagos, lagunas, reservas y estanques. Permitiendo, literalmente, experimentar las sensaciones de practicar el surf con olas óptimas de diferentes tamaños, formas y velocidades, en un entorno seguro y natural.
De acuerdo al director de ingeniería y cofundador de Instant Sport, José Manuel Odriozola, “Las diferencias fundamentales de Wavegarden frente a tecnologías ya existentes de generación de olas consisten en que la ola es regulable, adaptándose al nivel y edades de los surfistas, cuesta mucho menos de construir y mantener, y su eficiencia energética es muy superior." Odriozola prosigue, “Somos surfistas apasionados, y queremos compartir el surf con aquellos que no tienen la fortuna de vivir cerca de un mar con olas. Nuestro objetivo no ha sido solamente traer la diversión, aventura y deporte a todo el mundo en cualquier lugar, sino también abrir nuevas oportunidades de negocio tanto en el sector público como en el privado.”
Como explica el gerente Igor Barandiaran, “Wavegarden es la primera instalación de olas artificiales que demuestra ser rentable por la pura explotación del negocio del surf, gracias a una inversión inicial razonable y un bajo consumo energético.”
El bajo coste de explotación de Wavegarden y las múltiples zonas de surf que pueden utilizarse simultáneamente para surfistas de todos los niveles, propician que Wavegarden pueda ser aplicable a una gran variedad de casuísticas tales como instalaciones municipales, parques acuáticos y de surf, resorts y centros de deporte acuáticos enclavados en lagunas. Unificar todos estos factores en un único diseño Wavegarden ha sido la clave para crear un tipo de instalación que suponga la posibilidad para el público de todas las edades y niveles de destreza de poder disfrutar de un entorno playero y una experiencia surfera más allá del océano.
Sorprendentemente, incluso surferos expertos que han sido típicamente más difíciles de impresionar por las olas artificiales, están muy gratamente sorprendidos por la calidad, autenticidad y la distancia virtualmente ilimitada que puede recorrer una ola Wavegarden. Surfistas de la élite, como Aritz Aranburu, han usado el test center de Wavegarden como laboratorio de entrenamiento para depurar su técnica para la competición. Como Aritz ha declarado, “Wavegarden me ha ayudado a mejorar mi técnica para los campeonatos. Esta es una gran herramienta para aprender y perfeccionar el estilo.”
Tecnología Wavegarden, Investigación y Desarrollo
En efecto, los primeros test e impresiones recogidas indican que Wavegarden es lo más parecido a las olas del mar, y no es casual. Wavegarden está formado por un equipo muy cualificado de ingenieros, que son además surfistas entregados. José Manuel Odriozola explica, “La experiencia y conocimiento de nuestros técnicos, además de su capacidad para la innovación tecnológica, son los pilares de nuestra empresa.
Nos ha llevado casi 6 años investigando y desarrollando, no sólo para hacer realidad una instalación como Wavegarden, sino también para entender y ser capaces de reproducir la verdadera experiencia de surfear buenas olas en un entorno ideal.” Los servicios del equipo de Wavagarden van desde la planificación y diseño, hasta la construcción, puesta en marcha y mantenimiento de cada una de las instalaciones Wavegarden.
Primeras reacciones
El surfista del ranking mundial Bobby Martinez, ha escrito recientemente en su Twitter, “He encontrado una ola de ensueño para un surfista de izquierdas..me explico.. la ola nunca acaba!! Hahahaha!”
En solamente 5 días, e incluso antes de la salida oficial de Wavegarden al mercado, el 15 de febrero del 2011, nuestros 2 teasers (vídeos) han sido vistos en internet por 190.000 personas de más de 150 países diferentes. Wavegarden se ha convertido claramente en una de las noticias más relevantes del mundo del surf este año. El dos veces campeón del mundo de surf Mick Fanning, ha dicho en su página web, acerca de los teasers: “Esto me ha vuelto loco”.
Desde hoy todo el mundo puede saber más de nosotros en www.wave-garden.com.
Algunos detalles interesantes sobre el surf que tal vez no conozcas:
- Personas de todas las edades practican el deporte del surf en los cinco continentes y en 86 países.
- El surf se ha convertido en la metáfora de una vida sana y natural, con más de 20 millones de surfistas en el mundo; esta cifra sigue creciendo exponencialmente.
- Las ciudades con una buena rompiente de surf dinamizan su economía por el volumen de negocio que este produce.
- La industria del surf, que ya ha superado los 3.000 millones de dólares en ingresos anuales, continuará creciendo de forma agresiva en los próximos años.
- El surf es, en la actualidad, un fenómeno cultural, con marcas de moda de renombre internacional que se han convertido en iconos mundiales.
- Cada año hay más accidentes entre las animadoras de equipos de baloncesto que los que hay en el mundo del surf.
- Ha muerto más gente por ataque de cerdos que por ataques perpetrados por tiburones.
Información complementaria
Historia y situación de las olas artificiales en el mundo
El surf es un deporte ligado intrínsecamente a la naturaleza. Por desgracia esta no siempre acompaña cuando el surfista quiere surfear. De ahí que desde hace más de 30 años diferentes empresas hayan desarrollado diferentes tecnologías para la práctica del surf en entornos creados por la mano del hombre (conocidas comúnmente como piscinas de olas). Actualmente estas tecnologías se dividen en dos subgrupos:
a) las olas estáticas: haciendo referencia al hecho de que las no se desplazan. En realidad no son olas de verdad si no que se propulsa una lamina de agua contra una rampa en forma de ola y los surfistas se mantienen estáticos encima de la misma con ciertos cambios de dirección. Se utiliza mayormente una técnica y tipos de tablas, que muy poco tiene que ver con las tablas de surf que se utilizan en la playa.
b) las olas dinámicas: en este caso las olas si se desplazan. Se ubican en una lámina de agua, normalmente de forma parecida a una piscina convencional. La forma tradicional de generar las olas dinámicas consiste en situar enormes depósitos de agua que dejan caer una gran cantidad de la misma de golpe en un extremo de la piscina creando una ola. Ofrecen olas bastante parecidas a las del mar, que se surfean con tablas muy parecidas o idénticas y con la misma técnica. El gran inconveniente es que la ola acostumbra a ser muy corta pues pierde su fuerza muy rápidamente. Wavegarden genera olas dinámicas pero con una tecnología diferente a la convencional. Una masa de agua es movida sistemáticamente sobre una superficie y provoca la formación de la ola, al igual que las olas que rompen en un arrecife o una barra de arena. Esta tecnología soluciona el gran problema de la tecnología tradicional de generación de olas dinámicas ya que las olas Wavegarden no pierden su altura a medida que se desplazan.
Ventajas de Wavegarden respecto a las otras tecnologías:
Instant Sport presenta una tecnología de creación de una ola dinámica que consigue superar todas las tecnologías presentes en el mercado hasta el momento.
Ventajas:
a) Una ola perfecta interminable. A diferencia de las otras tecnologías de olas dinámicas, el único límite para la ola Wavegarden es la longitud de la lámina de agua. Así pues si se dispone de un lago de, por ejemplo, 10km de largo, con Wavegarden se crearán olas de 10 Km que no perderán un ápice de su fuerza ni de su forma durante todo el recorrido.
b) Adaptabilidad: la tecnología Wavegarden se puede aplicar a láminas de agua ya existentes o a otras construidas para la ocasión, siempre y cuando cumplan unos requisitos mínimos. En el caso de láminas de agua ya existentes, el recorrido de la ola se puede adaptar a la morfología del lago, laguna o estanque.
c) Customización: en función de las necesidades del cliente se puede hacer una ola que rompa en un sentido, en otro, más rápida o más lenta y con diferentes tamaños (tamaño máximo recomendado: 1.6m de altura). De esta manera se pueden satisfacer los gustos de todo tipo de público, desde el surfista más exigente hasta el principiante.
d) Las tablas y la técnica utilizadas para surfear un Wavegarden son las mismas que en el mar. Además es una herramienta muy válida para los cursos de iniciación debido a encontrarse en un entorno controlado. Wavegarden es, sin duda alguna, la ola hecha por el hombre que más se parece a las olas del mar.
e) En función de la morfología del terreno y de la configuración del Wavegarden, una misma ola puede ser surfeada por dos surfistas experimentados y hasta 20 principiantes a la vez.
f) Bajo consumo energético. Junto con su bajo coste, este elemento hace que, por primera vez, la explotación de centros de surf sea una actividad rentable. Así, la huella de CO2 emitido en una sesión de hora y media de un surfista en Wavegarden, es menor que la que emite un coche para ir y volver de una playa a media hora de distancia (parámetros de cálculo en www.wavegarden.com/product/the-wave/environment).
g) Mimetización con el entorno: debido a que gran parte del mecanismo se encuentra debajo del agua, la instalación de un Wavegarden no rompe la harmonía natural del ambiente donde se encuentra.
Previsiones económicas Wavegarden para el período 2011 /2014:
- Progresión creciente de la facturación (crecimiento anual medio del 50%).
- Clara vocación internacional, con una previsión de facturación, para los 4 años indicados, del 76% en el mercado extranjero y un 24% en el mercado nacional.
- Esfuerzo claro de I+D, muy fuerte en 2011 (47% de la facturación) y sostenido a partir de 2012 (5% sobre los ingresos).
- Crecimiento positivo de empleo, duplicando la actual plantilla en 3 años.
Los agentes que han apoyado este proyecto
Cada año como todas las empresas que desarrollan una actividad de I+D, Wavegarden se ha acogido a múltiples programas de ayuda a lo largo de su historia. Queremos destacar los principales sin las cuales este proyecto no hubiese sido posible:
- El CDTI y su programa de financiación NEOTEC I y NEOTEC II.
- Diputación de Gipuzkoa, especialmente los programas de apoyo al I+D de su departamento de deportes.
- La incubadora de empresas tecnológicas BIC Berrilan.
- Ayuntamiento de Aizarnazabal sin cuya colaboración hubiese sido imposible implementar el prototipo actual.
“Las fotos y videos mostrados en nuestra web corresponden al prototipo Wavegarden 2010. No te pierdas el lanzamiento inminente de nuestra instalación con olas de 1,6 metros (olas de altura hasta el hombro), este verano.”
Para más información y preguntas, por favor visite: www.wave-garden.com.
Y aquí la Patente de la piscina de olas.
Aparato generador de olas.
Sector de la técnica
La invención se refiere a un aparato generador de olas válidas para practicar el surf.
Estado de la técnica
Para que unas olas generadas artificialmente en un medio acuático se consideren válidas para practicar el surf, es decir, para que pueda practicarse el surf sobre ellas con la misma técnica y con las mismas tablas de surf que sobre olas naturales, dichas olas generadas artificialmente deben cumplir una serie de requisitos: en primer lugar, han de presentar un tamaño relativamente grande (una altura mínima de 0,5 m, y preferentemente superior a 1 m); en segundo lugar, han de desplazarse con respecto a un punto fijo y que dicho desplazamiento se produzca a una velocidad similar a la que se desplazan las olas naturales en la costa del mar (donde la corriente en la ola se encuentra entre -2 y 2 m/s y la velocidad de la ola es proporcional a la altura de la ola, siendo aproximadamente de 6 m/s para una ola de 1,5 m de altura); en tercer lugar, es necesario que las olas generadas presenten el efecto denominado "escape", es decir, que presenten en un mismo instante una zona rompiente y una zona a punto de romper, de manera que el surfista pueda practicar el surf "escapando" de la zona rompiente hacia la zona a punto de romper; en cuarto lugar, es importante que la zona del medio acuático por la que pasan las olas generadas esté en calma, es decir, que la superficie del agua no esté ondulada y que por lo tanto no exista ningún otro oleaje o rebote generado por la ola artificial; en quinto lugar, el periodo entre ola y ola debe ser de al menos 10-12 s aproximadamente (obteniéndose una ola conocida como "ola solitaria" porque apenas tiene influencia de su ola anterior y posterior, ya que las partículas de agua entre olas llegan al reposo), ya que éste es el tiempo adecuado para que el surfista se prepare y coja la ola sin esperar más de lo debido; por último las olas deben tener una pendiente mínima para que un surfista pueda viajar sobre ella, pudiendo a partir de dicha pendiente mínima generarse olas con una pendiente más suave destinadas a surfistas principiantes u olas con una pendiente más elevada (incluso superando la vertical y rompiendo con forma de tubo) destinadas a surfistas expertos.
Los generadores de olas válidas para practicar el surf han de ser capaces de generar olas con las caracteristicas descritas y al mismo tiempo cumplir una serie de requisitos adicionales como son presentar un consumo de energía razonable, ser capaces de generar distintos tipos de olas según las necesidades del surfista (pudiendo realizarse el cambio entre distintos tipos de olas con relativa facilidad y rapidez), y garantizar en todo momento la seguridad de los surfistas, asegurando entre otros aspectos que cuando el surfista se cae de la ola no existe ninguna posibilidad de que pueda sufrir daños con algún elemento del generador de olas.
De entre los generadores de olas existentes se conocen los sistemas generadores de olas neumáticos, en los que inyectando gran cantidad de aire a baja presión en cámaras de agua sumergidas en una piscina se fuerza a salir a este agua a la piscina creándose un frente de onda, los sistemas generadores de olas por vacío, en los que se absorbe agua de una piscina en cámaras, las cuales se elevan y después abren dejando caer el agua sobre la piscina, los sistemas hidráulicos, en los que el agua se eleva por bombas hasta llenar unos depósitos que posteriormente se vacían del golpe, y ciertos sistemas mecánicos en los que el frente de onda se crea abatiendo el agua mediante el movimiento de una de las paredes laterales de la piscina (un ejemplo de sistema mecánico puede encontrarse en el documento US 20040248780 A1). Todos estos sistemas tienen en común que, cuando son aplicados a la generación de olas válidas para practicar el surf, no son eficientes energéticamente, los periodos de tiempo entre olas son excesivos o demasiado cortos (si se quiere aprovechar la frecuencia natural de los sistemas para reducir su consumo energético), y requieren una inversión económica inicial muy elevada entre otros aspectos debido a que la piscina debe tener una topografia en sus fondos de tipo orilla, adecuada para hacer romper la ola debidamente además de para disipar los rebotes.
Se conocen también sistemas generadores de olas mecánicos que generan olas estáticas mediante el lanzamiento de agua sobre un perfil. En estos sistemas, dado que el surfista y su tabla no presentan cantidad de movimiento, la técnica requerida nada tiene que ver con la técnica del surf real, realizado sobre olas naturales en movimiento (estableciendo un paralelismo, practicar el surf sobre olas estáticas puede equivaler a intentar mantenerse en equilibrio pedaleando sobre una bicicleta a velocidad cero montada sobre una cinta transportadora). Esta técnica es tan diferente que puede considerarse incluso como un deporte diferente. Ejemplos de estos generadores de olas pueden encontrarse en US 6716107, US 5564859 y US 5171101.
Por otra parte, se conocen los sistemas generadores de olas mecánicos por perfil móvil, en los que un perfil o elemento abatidor móvil empuja el agua en una determinada dirección para crear la ola. Dentro de los sistemas generadores de olas por perfil se conocen los sistemas generadores con punto de rotura alejado del perfil y los sistemas generadores con punto de rotura sobre el perfil.
En los sistemas generadores con punto de rotura alejado del perfil, el perfil empuja el agua hacia delante para iniciar un frente de onda que posteriormente se aleja del perfil y, a una cierta distancia, termina rompiendo debido a la forma de orilla (profundidad decreciente) del fondo de la piscina o lugar donde se encuentra instalado el sistema. La práctica del surf no se realiza en el inicio de la ola, próximo al perfil, sino que se realiza donde rompe la ola, a una cierta distancia del perfil, siendo por lo tanto este sistema seguro para el surfista ya que se puede delimitar fisicamente la zona en la que se mueve el perfil de la zona destinada a usuarios. Estos sistemas han de ser capaces de generar olas que, aún perdiendo altura al separarse del perfil durante su desplazamiento, sigan siendo válidas para practicar el surf a una distancia relativamente elevada del perfil que las genera. Por ello, al igual que en otros sistemas mencionados anteriormente, cuando estos sistemas son aplicados a la generación de olas válidas para practicar el surf no resultan eficientes energéticamente. Además, estos sistemas requieren una inversión inicial muy elevada, entre otras razones porque la piscina debe tener una topografia en sus fondos adecuada para hacer romper la ola debidamente y disipar los rebotes. Un ejemplo de este tipo de sistemas puede encontrarse en WO 0005464 y en US 3913332.
Los sistemas generadores con punto de rotura sobre el perfil se basan en que el perfil empuja el agua de manera que se crea una ola sobre el perfil o justo delante del perfil, avanzando dicha ola a la misma velocidad que el perfil y sin separarse de él. En estos sistemas el perfil ocupa parte del volumen de la ola, lo cual permite poner una menor cantidad de agua en movimiento para generar unas olas válidas para practicar el surf. En consecuencia, estos sistemas presentan un consumo energético aceptable que permite una explotación económica rentable de la instalación de dichos sistemas destinados a la práctica del surf.
Dentro de los sistemas generadores con punto de rotura sobre el perfil se conocen los sistemas de perfil superficial y de perfil profundo. En los sistemas de perfil superficial, el perfil se encuentra tan solo ligeramente sumergido, de forma que la película de agua que queda por encima de dicho perfil es muy fina y la forma de la superficie de agua es prácticamente igual a la forma del perfil. Así, para obtener una ola con concavidad, tipo tubo, habrá que utilizar un perfil con dicha concavidad. Un ejemplo de este tipo de sistemas puede encontrarse en los documentos US 20030119592 A1, WO 03051479 A2 y US 4792260, en los cuales se obtiene mediante un mínimo consumo energético y mediante unos perfiles superficiales diseñados con una forma muy específica que determina la forma de la ola, unas olas resultantes cuya forma es perfecta para practicar el surf. Sin embargo, los distintos perfiles propuestos presentan en su zona inferior (y algunos de ellos, los destinados a generar olas con tubo, también en su zona superior) superficies perpendiculares a la dirección de avance del perfil, y además están realizados en un material rígido o semirrígido y se desplazan a gran velocidad, por lo que podrían provocar daños graves a un surfista que cayese e impactase contra el perfil. Otro problema es que la película de agua que se forma por encima del perfil es tan fina que las quillas de las tablas de surf convencionales pueden pegar contra el perfil, por lo que es necesario utilizar tablas especiales sin quillas o con quillas muy pequeñas. Estas tablas especiales requieren una técnica distinta para ser manejadas, lo cual va en contra de uno de los principales objetivos de los generadores de olas válidas para practicar el surf, que es proporcionar olas que puedan ser surfeadas utilizando la misma técnica que las olas naturales.
Los sistemas de perfil profundo son aquellos capaces de generar olas con concavidad (con tubo) a partir de perfiles que carecen de formas cóncavas. En otras palabras, en los sistemas de perfil profundo, a diferencia de en los sistemas de perfil superficial, la forma de la ola no viene determinada por la tanto por la forma del perfil sino más bien por el diseño y localización del fondo o superficie que queda por debajo del perfil.
Ejemplos de sistemas de perfil profundo son los expuestos en WO 8200771, WO 8404695, JP8-126732, JP62-204772, JP52-41392, JP52-30531, JP3-173586 y FR2848120, donde el sistema generador de olas utiliza un perfil dispuesto sobre un fondo flexible que se deforma para generar la ola. Aunque son sistemas conceptualmente muy sencillos, resultan difíciles de llevar a cabo en la realidad debido a lo complicado que resulta encontrar un materiales y mecanismos para la realización del fondo flexible que permita que dicho fondo flexible soporte el peso de una ola (recuérdese que cada metro de frente de ola de un metro de profundidad pesa una tonelada) y al mismo tiempo sea capaz de deformarse para adquirir la forma de la ola, todo ello sin que suponga un riesgo para el usuario.
Se conoce por otra parte la patente US 3802697, también referida a un sistema generador de perfil profundo. Este sistema generador no utiliza un fondo flexible sino un fondo fijo, concretamente realizado en forma de un canal fijo que contiene el fluido y por cuyo interior se desplaza el perfil. Se prevé que este sistema presente ciertos inconvenientes: que no pueda generar olas con escape ya que, dada la presencia del canal, el agua turbulenta de la zona rota de la ola no tenga por dónde escapar y termine rellenado toda la anchura del canal; que las paredes del canal alarguen en exceso la disipación de los rebotes de las olas; que el surfista pueda ser lanzado contra las paredes del canal al caer de la ola.
La presente invención tiene como objetivo conseguir un aparato para generar olas del tipo de los aparatos generadores de olas con perfil, con punto de rotura sobre el perfil, y con perfil profundo, en el cual se cumplan al menos los siguientes requisitos: que las olas generadas sean válidas para practicar el surf, siendo el aparato capaz de generar olas que presenten la misma calidad que las olas naturales de manera que el usuario surfista no tenga que modificar su técnica ni su equipo; que el aparato presente un bajo consumo de energía; que el aparato garantice la máxima seguridad del usuario surfista.
Descripción breve de la invención
Es objeto de la invención un aparato para generar olas que se instala en un medio acuático y que comprende, como elementos principales, al menos un perfil alargado que se mueve tangencialmente con respecto a un fondo de profundidad constante (es decir, sustancialmente horizontal), y un mecanismo de accionamiento destinado a provocar el movimiento del perfil. Como consecuencia del movimiento del perfil con respecto al medio acuático y al fondo, sobre el perfil se forma una ola que se desplaza junto con el perfil. El perfil es sustancialmente alargado y se dispone formando un ángulo con la dirección de desplazamiento distinto de 90º, con objeto de generar una ola con zona de escape, y por lo tanto surfeable.
El perfil empuja la mayor parte de la sección de agua que está delante del perfil, empujándola desde el fondo hasta la superficie. Para ello, el perfil preferentemente se dispone desde el fondo o casi desde el fondo y al menos hasta la superficie o muy cerca de ella (incluso por encima de la superficie del agua). Entonces, la forma en que se acumula el agua (la ola) no depende de la forma del perfil sino de la relación entre la profundidad del fondo con respecto a la superficie de agua en calma y la altura del agua que es capaz de acumular (es decir, la altura de la ola). Esta altura a su vez depende de la altura, anchura, ángulo y velocidad del perfil, como se detallará más adelante. En otras palabras, la forma del perfil puede ser cualquiera que tenga la capacidad de empujar agua hacia delante y de abajo a arriba, sin que de la forma del perfil dependa la forma de la ola.
A pesar de que el perfil puede presentar cualquier geometría, como solución especialmente ventajosa se contempla un perfil desprovisto de espacios o concavidades dirigidas hacia el surfista cuando el aparato generador de olas se encuentra en funcionamiento (es decir, el perfil se está desplazando), con el fin de aumentar la seguridad del surfista. El modo de realización concreto del perfil puede ser tal que presente una forma fija, independientemente de si el perfil se encuentra en movimiento o parado (por ejemplo, siendo un perfil semirrígido). Sin embargo, en el modo de realización preferente el perfil es hinchable, sin forma definida y flexible de forma que durante y debido a su movimiento con respecto al fondo, adopta una forma hidrodinámica y libre de concavidades dirigidas hacia el surfista. Dentro de este modo de realización preferente, el caso particular más sencillo y económico de fabricar es un perfil hinchable cilíndrico.
La forma de la ola viene dada por la adecuada combinación de los factores anteriormente mencionados: primero, la profundidad del fondo con respecto a la superficie del agua en calma; segundo, la altura total del perfil con respecto al fondo cuando el perfil se encuentra en movimiento; tercero, la anchura del perfil; cuarto, el ángulo del perfil con respecto a la dirección de desplazamiento; quinto, la velocidad de desplazamiento del perfil. El aparato según la invención podrá estar diseñado para proporcionar una combinación fija de estos factores (proporcionando por lo tanto una ola de forma fija), aunque preferentemente estará realizado de forma que pueda proporcionar más de una combinación de valores (más de un tipo de ola). En cuanto a este último modo de realización, el aparato permitirá la configuración de al menos alguno de los citados factores para la selección de una ola de mayor o menor complejidad. Por otra parte, el aparato según la invención presenta también la posibilidad de cambiar el sentido de movimiento del perfil, de forma que en un sentido de movimiento la ola resultante es del tipo de las denominadas "olas de derechas" (el surfista que se encuentre sobre ella avanzará hacia su derecha) y en el sentido contrario de movimiento la ola resultante es del tipo de las denominadas "olas de izquierdas" (el surfista que se encuentre sobre ella avanzará hacia su izquierda). Para todo ello y para otras funciones, el aparato según la invención presenta una serie de elementos auxiliares que son descritos en profundidad en la descripción detallada de las figuras que acompañan a la presente descripción.
Es además objeto de la invención un aparato para generar olas válidas para practicar el surf que presenta un funcionamiento configurable, de manera que el aparato puede ajustarse para generar olas de diferente tipo y tamaño, es decir, olas apropiadas para surfistas con distintos niveles de experiencia. Por ejemplo, el ángulo que forma el perfil con la dirección de desplazamiento es preferentemente configurable, para variar la dificultad de la ola (a menor ángulo, mayor dificultad).
El aparato según la invención presenta una serie de ventajas sobre los diseños conocidos de aparatos generadores de olas con perfil y con punto de rotura sobre el perfil o con punto de rotura alejado del perfil.
Con respecto a los aparatos con punto de rotura alejado del perfil, el aparato según la invención, al igual que otros aparatos con punto de rotura sobre el perfil, no requiere que el fondo del medio acuático presente una forma específica para conseguir determinar dónde y cómo rompe la ola, sino que la ola rompe encima del perfil y lo hace con una forma controlada por los parámetros del perfil mencionados anteriormente.
Además, con respecto a otros aparatos conocidos que funcionan por perfil y con punto de rotura sobre el perfil, el aparato para generar olas válidas para practicar el surf según la invención es capaz de garantizar la máxima seguridad del usuario surfista a la vez que genera olas de la misma calidad que las olas naturales. Así, como se ha explicado, el uso de un perfil libre de concavidades y preferentemente hinchable minimiza los riesgos. Con respecto a los sistemas de perfil superficial se eliminan los elementos del aparato (perfil o base) que sean rígidos o semirrígidos y estén provistos de convexidades, superficies perpendiculares al desplazamiento o cantos que puedan impactar con el surfista que se encuentra en el entorno de la ola.
Además, con respecto a ciertos sistemas de perfil profundo la invención presenta la ventaja de que el perfil no ha de desplazarse en el interior de un canal construido a tales efectos. Unicamente es necesario que se desplace con respecto a un fondo, el cual puede localizarse en una piscina, un lago, etc.
Descripción breve de las figuras
Los detalles de la invención se aprecian en las figuras que se acompañan, no pretendiendo éstas ser limitativas del alcance de la invención:
- La Figura 1 muestra una perspectiva de un modo de realización de la invención.
- La Figura 2 muestra una vista lateral de un modo de realización de la invención provisto de un perfil autohinchable de agua.
- Las Figuras 3 y 4 muestran una vista en planta y una vista lateral del modo de realización de la invención representado en la Figura 1.
- La Figura 5 muestra una vista lateral de un perfil hinchable con barra rígida y cinchas menos apretadas.
- La Figura 6 muestra una vista lateral de un perfil hinchable con barra rígida y cinchas más apretadas.
- La Figura 7 muestra una vista en planta de un modo de realización de la invención provisto de perfil doble.
- La Figura 8 muestra una vista en planta de un modo de realización de la invención con recorrido en bucle y con dos perfiles dobles.
- La Figura 9 muestra una vista en planta de un modo de realización de la invención con recorrido lineal y con un perfil simple.
- La Figura 10 muestra el perfil de la Figura 9 invirtiendo el sentido de su desplazamiento.
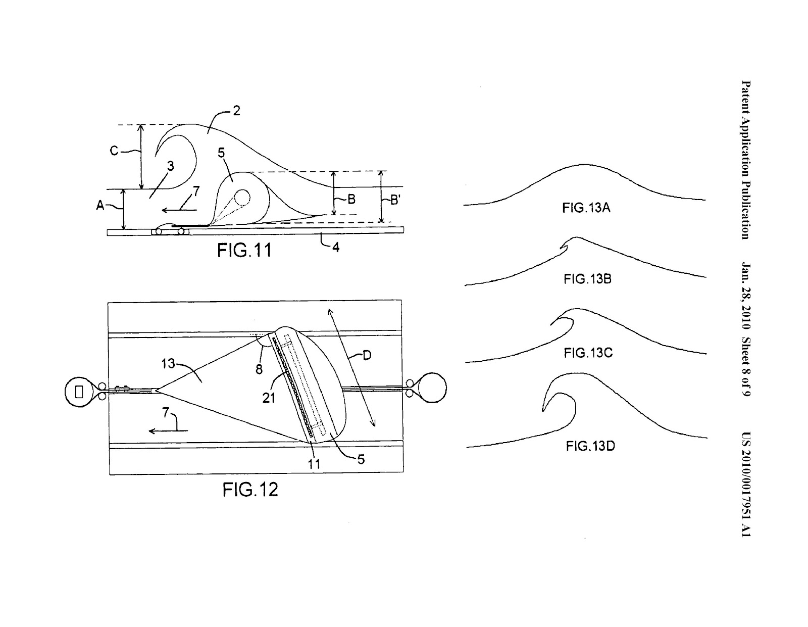
- Las Figuras 11 y 12 muestran los parámetros configurables de un aparato según la invención.
- La Figura 13 muestra cuatro tipos de ola obtenida en función del ajuste de los parámetros regulables.
Descripción detallada de la invención
La Figura 1 muestra un modo de realización de un aparato (1) para generar olas (2) en un medio acuático (3). El aparato (1) comprende un fondo (4) sustancialmente horizontal, es decir, de profundidad constante con respecto a la superficie del medio acuático (3). El fondo (4) está realizado por ejemplo como una placa de hormigón fundamentalmente plana construida sobre el fondo de un lago o una piscina, como tierra compactada en el fondo de un lago o una piscina, o como un fondo realizado con placas metálicas en el interior de una piscina desmontable. Sobre el fondo (4), el aparato (1) comprende un perfil (5) sustancialmente alargado, el cual se desplaza con respecto al fondo (4) en una dirección de desplazamiento (7) gracias a la acción de un mecanismo de accionamiento (6). Como consecuencia del desplazamiento del perfil (5), sobre el mismo se forma una ola (2) surfeable.
Como puede verse en la figura, el perfil (5) sustancialmente alargado forma un ángulo (8) con la dirección de desplazamiento (7) distinto de 90º. De este modo se consigue que el frente de la ola (2) generado sobre el perfil (5), que será paralelo al perfil (5), tenga un extremo adelantado y otro retrasado respecto a la dirección de desplazamiento (7). Si el resto de la configuración (profundidad del fondo, altura, anchura y velocidad del perfil) es tal que produce que dicho frente de ola rompa en algún punto del perfil (5) (preferentemente retrasado), se consigue una parte del frente de ola sin romper y limpia de espuma (en la parte adelantada del frente de ola) y otra parte del frente de ola rota y cubierta de espuma (en la parte retrasada del frente de ola). Un frente de ola de este tipo coincide notablemente con una ola surfeable natural. La magnitud del ángulo (8) influye en la dificultad de la ola (2), encontrándose que cuanto más cercano sea dicho ángulo a 90º, más fácil de surfear es la ola resultante. Así, un ángulo (8) de 60º se corresponde con una ola fácil, un ángulo (8) de 45º genera una ola (2) de dificultad media y un ángulo (8) de 35º genera una ola (2) de dificultad elevada. En el aparato (1) según la invención, el ángulo (8) es regulable para poder obtener olas de diferente dificultad en un mismo aparato.
El fondo (4) es abierto, es decir, no dispone de paredes laterales cercanas al perfil en su extremo retrasado que le otorguen una forma de canal. En consecuencia, la espuma generada en la rotura puede salirse del perfil por el extremo retrasado, no rellenando el frente de ola y dejando una cara limpia de espuma en el frente de ola por el extremo adelantado. Esta cara limpia de espuma, conocida como escape, permite que la ola sea surfeable.
El perfil (5) presenta una geometría tal que, cuando el perfil (5) se desplaza con respecto al fondo (4), está desprovista de espacios o concavidades dirigidas en la dirección de desplazamiento (7). Esto puede conseguirse mediante un perfil (5) rígido que nunca presente dichos espacios y concavidades, o mediante un perfil (5) flexible de cualquier forma, el cual al desplazarse se deforme para no presentar dichos espacios o concavidades.
Así, en el modo de realización preferente del perfil (5), éste es hinchable en su mayoría o totalidad. Un modo de realización de sencilla fabricación y óptimo funcionamiento es aquel representado en esta Figura 1, donde el perfil (5) está relleno de aire. Así, inicialmente el perfil (5) presenta una forma cilíndrica, y al ser puesto en movimiento se deforma hasta adquirir una forma aproximada de gota de agua. Esta solución es ventajosa ya que el perfil (5) es ligero, lo cual permite reducir el consumo energético del aparato (1). En esta figura puede verse además como el perfil (5) es complementado con una forma trasera hidrodinámica (18), para mejorar la salida de aguas, reducir el consumo del aparato (1) y reducir el tiempo que tarda el agua en volver a la calma antes de la siguiente ola. Otro modo de realización puede verse en la Figura 2, donde se ha representado un perfil (5) que se hincha de agua, produciéndose el hinchado cuando por causa del desplazamiento del perfil (5) en la dirección de desplazamiento (7) se produce una entrada de agua al interior del perfil (5) a través de una zona de entrada de agua (10). El perfil (5) en este caso estará preferentemente diseñado para que al hincharse tome la forma de ala de avión o parapente. La zona de entrada de agua (10) puede estar realizada en forma de una red, etc. La solución de la Figura 7 es ventajosa ya que permite el autollenado del perfil (5), simplificándose la instalación y mantenimiento del aparato (1).
Como se observa en la Figura 1, el perfil (5) se encuentra conectado a una lona (13) triangular, donde a los tres vértices de dicha lona (13) se conectan un patín de arrastre (14) y dos patines de guiado (15) para el arrastre guiado del perfil (5) con respecto al fondo (4). Los patines (14, 15) forman parte del mecanismo de accionamiento (6), el cual comprende otros elementos como los cables (19) que tiran del patín de arrastre (14). Los patines de guiado (15) laterales van preferentemente ocultos debajo del fondo (4), y absorben las fuerzas laterales que aparecen debido a que el perfil (5) forma un ángulo distinto de 90º con respecto a la dirección de desplazamiento (7). El patín de arrastre (14) también va preferentemente oculto, y constituye el sistema tractor del perfil (5). La presencia de la lona (13) hace que la fuerza sobre el patín de arrastre (14) sea sólo longitudinal. Además, la lona (13) presenta un grado de elasticidad que permite su alargamiento para amortiguar la gran tensión generada en la arrancada o inicio del movimiento del perfil (5).
En las Figuras 3 y 4 se muestran dos vistas del modo de realización de la invención de la Figura 1. En estas figuras se aprecia que el perfil (5) es capaz de bascular verticalmente según indican las flechas (22). Gracias a esta capacidad de basculamiento, el perfil (5) llega a su propio equilibrio vertical sin que apenas se trasladen esfuerzos verticales sobre los patines (15). Cuando el perfil (5) está parado, se sale del agua en función de su flotabilidad. Cuando el perfil (5) está en movimiento, llega a su posición de equilibrio dada por tres fuerzas: el peso del agua sobre el perfil (5), el empuje vertical debido a la flotabilidad del perfil (5) y la presión del agua que pasa por debajo de la lengüeta (11) y del perfil (5). De esta forma el peso de la ola es soportado por el fondo (4) en lugar de por los patines (15). En consecuencia, al permitir el basculamiento del perfil (5) se consiguen dos ventajas fundamentales: por un lado, no han de fabricarse unos patines (15) tan resistentes como para ser capaces de soportar el peso de la ola (téngase en cuenta que una ola de 1,5 metros puede pesar unas 5 toneladas por cada metro de anchura); por otro lado, no es necesario construir una estructura por encima de los patines (15) que sea capaz de soportar el perfil (5).
En el modo de realización de las figuras, el aparato (1) incorpora una lengüeta (11) que permite que el perfil (5) pueda bascular verticalmente con más libertad (amplitud) tanto cuando se encuentra en movimiento como cuando se encuentra parado. Concretamente, como puede observarse el perfil (5) se encuentra conectado a un lado (12) de la lengüeta (11), la cual es sustancialmente rectangular, mientras que sobre el lado opuesto (9) de dicha lengüeta (11) actúa el medio de accionamiento (6), es decir, tiran los patines de guiado (15) y el patín de arrastre (14) - éste último por medio de la lona (13)-. Además, la lengüeta (11) permite que los patines de guiado (15) no tengan que soportar fuerzas verticales. También constituye una zona sobre la que puede caer el surfista cuando pierde el equilibrio, amortiguando dicha caída gracias a la propia tensión de la lengüeta (11) y evitando que el surfista impacte contra el fondo (4).
Como se muestra en las Figuras 3 a 6, el perfil (5) puede incluir en su interior una barra rígida (16) para evitar que el perfil (5) se combe. Además, la barra rígida (16) se localiza en una posición regulable, lo cual permite variar la forma del perfil (5). La posición de la barra rígida (16) puede ser regulada por ejemplo por medio de unas cinchas (17). Como se observa en las Figuras 4 y 5, en caso de que las cinchas (17) se ajusten más holgadamente, se obtiene un perfil (5) que en movimiento presenta una forma más tumbada, y por lo tanto menos alta, con lo que se consigue una ola menos inclinada. En cambio, si las cinchas (17) se aprietan, el perfil (5) en movimiento se deforma con mayor altura, consiguiéndose una ola más inclinada.
En la Figura 4 se observa que, opcionalmente, el perfil (5) y demás elementos que se desplazan sobre el fondo (4) van cubiertos de una capa de seguridad (20) cuyo fin es evitar el riesgo de pellizcamiento para el surfista.
La Figura 7 muestra otro modo de realización de la invención, en la cual el aparato (1) comprende un perfil doble, es decir, un perfil formado por dos perfiles (5', 5'') de los descritos anteriormente, dispuestos en ángulos diferentes con respecto a la dirección de desplazamiento (7), con el fin de generar a la vez una ola de derechas y otra ola de izquierdas.
En cuanto al mecanismo de accionamiento (6), la invención no se limita a un mecanismo en concreto sino que contempla el uso de cualquier tipo de mecanismo capaz de provocar el desplazamiento del perfil (5) con respecto al fondo (4). En un modo de realización, representado en la Figura 8, el circuito que sigue el perfil (5) es un bucle cerrado, por lo que basta con que el mecanismo de accionamiento (6) sea capaz de provocar el desplazamiento del perfil (5) en una única dirección, aunque opcionalmente pudiese funcionar en ambas. En otro modo de realización, representado en la Figura 9, el mecanismo de accionamiento (6) puede provocar el movimiento del perfil (5) en dos sentidos de desplazamiento: un primer sentido (7') de desplazamiento y un segundo sentido (7'') contrario al primer sentido (7'). En este caso, el perfil (5) realiza un recorrido lineal y presenta la capacidad de desacoplarse de un gancho u otro elemento similar solidario al cable (19) cuando llega al final del recorrido, y de volver a acoplarse a dicho gancho para iniciar el recorrido en sentido contrario. En este caso el perfil (5) pivota de la forma explicada anteriormente cada vez que cambie el sentido de su desplazamiento. La Figura 9 también sería factible si en lugar de esta solución, se contase con un motor o sistema de transmisión capaz de invertir la dirección de giro cuando el perfil (5) llega al final del recorrido.
En caso de que el mecanismo de accionamiento (6) sea capaz de cambiar el sentido (7', 7'') de desplazamiento del perfil (5), en una solución especialmente ventajosa representada en la Figura 10, el perfil (5) está diseñado para pivotar y adoptar la posición simétricamente contraria, para que pueda continuar generándose una ola (2) sobre él. Así, como puede verse en la figura, si partiendo de una situación inicial en la cual el perfil (5) se desplaza en una primera dirección de desplazamiento (7), se pasa a la dirección de desplazamiento contraria (7'), el perfil (5) pivota sobre el lado (9) de la lengüeta (11) y queda adecuadamente dispuesto para generar la ola en sentido contrario.
En el aparato (1) según la invención se puede permitir regular al menos una de las siguientes características, representadas en las Figuras 11 y 12, con el fin de variar la forma de la ola (2) generada:
a) la altura (B) del perfil (5) cuando el perfil (5) se encuentra en movimiento (debe recordarse que el perfil puede ser hinchable o similar, variando su forma en función de si se encuentra en movimiento o no, siendo relevante su dimensión en movimiento), debiendo hacerse notar que la altura (B) del perfil (5) prácticamente coincide con la altura (B') del perfil (5) con respecto al fondo (4), ya que el perfil (5) se eleva del fondo (4) una distancia muy reducida cuando se encuentra en movimiento,
b) la relación entre la altura (B) del perfil (5) y la profundidad (A) del fondo (4) con respecto a la superficie del medio acuático (3) en calma (dicha relación se ajustará normalmente variando el parámetro B ya que el parámetro A puede no ser variable),
c) la anchura (D) del perfil (5),
d) la velocidad de desplazamiento del perfil (5),
e) el ángulo (8) que forma el perfil (5) con la dirección de desplazamiento (7).
Preferentemente, el aparato (1) según la invención se configura o construye de tal forma que:
- la anchura (D) del perfil (5) es al menos cuatro veces la altura (B) del perfil (5),
- el cociente entre la altura (B) del perfil (5) y la profundidad (A) del fondo (4) está comprendida entre 1/2 y 3,
- la velocidad del perfil (5) es aproximadamente igual a la velocidad de una ola natural de altura igual a la altura (B) del perfil (5), y
- el ángulo (8) está comprendido entre 90 y 35º.
Entonces, se obtiene un aparato (1) en el cual la altura (C) de la ola (2) obtenida es aproximadamente igual a la altura (B) del perfil (5), cumpliéndose la tabla siguiente de tipos de ola (2) conseguidos en función de la relación entre la altura (B) del perfil (5) y la profundidad (A) del fondo (4):
Como puede verse en la Figura 12, la lengüeta (11) puede disponer de una franja permeable (21), por ejemplo tipo red, capaz de ser abierta o cerrada para variar su superficie. En caso de estar abierta, cuando el perfil (5) se desplaza dicha franja permeable (21) deja entrar parte de agua por debajo del perfil (5), empujándose menos agua hacia arriba. La mayor apertura o cierre de la franja permeable (21) permite modificar la forma de la ola (2) y hacerla de pendiente más suave o más fuerte, según las necesidades del surfista. De este modo, el hecho de variar el grado de apertura de la franja permeable (21) puede producir unos efectos parecidos a variar el cociente B/A explicado anteriormente (pudiendo ser una alternativa más sencilla de ejecutar).
La invención contempla modos de realización diferentes de los representados en las figuras. Así, en uno de ellos, el perfil (5) puede pivotar alrededor de un eje vertical en lugar de alrededor del eje horizontal representado en las figuras. En otro modo de realización, el perfil (5) se encuentra dispuesto sobre un disco que puede girar con respecto al fondo (4), de forma que el ángulo (8) puede regularse sin necesidad de variar la construcción del aparato (1).
Además, al perfil (5) representado en las figuras se le pueden añadir otros elementos no representados para mejorar su rendimiento hidrodinámico u otras características, en caso de que fuera necesario.
Reivindicaciones:
1. Aparato (1) para generar olas (2) en un medio acuático (3), que se caracteriza por que comprende:
- un fondo (4) abierto y de profundidad sustancialmente constante con respecto a la superficie del medio acuático (3),
- al menos un perfil (5) sustancialmente alargado encima del fondo (4) y a una distancia de éste, sustancialmente adosado al fondo y de una altura sustancialmente igual o superior a la profundidad del fondo (4)
- un mecanismo de accionamiento (6), por cuya acción el perfil (5) se desplaza con respecto a dicho fondo (4) en una dirección de desplazamiento (7) sustancialmente horizontal, formándose una ola (2) encima del perfil (5), donde
- el perfil (5) forma un ángulo (8) con la dirección de desplazamiento (7) distinto de 90º.
2. Aparato (1) para generar olas (2) en un medio acuático (3), según la reivindicación 1, que se caracteriza por que el perfil (5) presenta una geometría tal que, cuando el perfil (5) se desplaza con respecto al fondo (4), está desprovista de espacios o concavidades dirigidas en la dirección de desplazamiento (7).
3. Aparato (1) para generar olas (2) en un medio acuático (3), según la reivindicación 1, que se caracteriza por que el perfil (5) es sustancialmente flexible y puede deformarse cuando el aparato (1) se encuentra en movimiento.
4. Aparato (1) para generar olas (2) en un medio acuático (3), según la reivindicación 3, que se caracteriza por que el perfil (5) es sustancialmente hinchable.
5. Aparato (1) para generar olas (2) en un medio acuático (3), según la reivindicación 4, que se caracteriza por que el perfil (5) está hinchado de aire.
6. Aparato (1) para generar olas (2) en un medio acuático (3), según la reivindicación 4, que se caracteriza por que el perfil (5) se hincha de agua cuando se desplaza con respecto al fondo (4), comprendiendo una zona de entrada de agua (10).
7. Aparato (1) para generar olas (2) en un medio acuático (3), según la reivindicación 3, que se caracteriza por que el perfil (5) comprende en su interior una barra rígida (16) en una posición regulable para variar la forma del perfil (5).
8. Aparato (1) para generar olas (2) en un medio acuático (3), según la reivindicación 1, que se caracteriza por que el perfil (5) se encuentra conectado a una lona (13) triangular, donde a los tres vértices de dicha lona (13) se conectan un patín de arrastre (14) y dos patines de guiado (15) para el arrastre guiado del perfil (5) con respecto al fondo (4).
9. Aparato (1) para generar olas (2) en un medio acuático (3), según la reivindicación 1, que se caracteriza por que el perfil (5) está unido al mecanismo de accionamiento (6) de forma que el perfil (5) puede bascular verticalmente.
10. Aparato (1) para generar olas (2) en un medio acuático (3), según la reivindicación 9, que se caracteriza por que el perfil (5) se encuentra conectado a un lado (12) de una lengüeta (11) sustancialmente rectangular, sobre el lado opuesto (9) de dicha lengüeta (11) actúa el medio de accionamiento (6), de forma que el perfil (5) puede bascular verticalmente.
11. Aparato (1) para generar olas (2) en un medio acuático (3), según la reivindicación 10, que se caracteriza por que la lengüeta (11) comprende una franja permeable (21) de superficie regulable.
12. Aparato (1) para generar olas (2) en un medio acuático (3), según la reivindicación 1, que se caracteriza por que el perfil (5) comprende una forma trasera hidrodinámica (18).
13. Aparato (1) para generar olas (2) en un medio acuático (3), según la reivindicación 1, que se caracteriza por que el mecanismo de accionamiento (7) puede provocar el movimiento del perfil (5) en dos direcciones de desplazamiento: una primera dirección de desplazamiento (7) y una segunda dirección contraria a la primera dirección de desplazamiento (7).
14. Aparato (1) para generar olas (2) en un medio acuático (3), según la reivindicación 13, que se caracteriza por que comprende medios de pivotación, de manera que cuando el mecanismo de accionamiento (7) provoca el cambio de movimiento del perfil (5) de la primera dirección de desplazamiento (7) a la segunda dirección, o viceversa, el perfil (5) pivota para que continúe generándose una ola (2) sobre él.
15. Aparato (1) para generar olas (2) en un medio acuático (3), según la reivindicación 1, que se caracteriza por que permite regular al menos una de las siguientes características: la altura (B) del perfil (5) cuando el perfil (5) se encuentra en movimiento, la relación entre la altura (B) del perfil (5) y la profundidad (A) del fondo (4) con respecto a la superficie del medio acuático (3) en calma, la anchura (D) del perfil (5), la velocidad de desplazamiento del perfil (5), y el ángulo (8) que forma el perfil (5) con la dirección de desplazamiento (7).










No hay comentarios:
Anímate a participar en Surf 30, pero siempre con respeto.
Los comentarios reflejan solo las opiniones de los lectores.
Puedes consultar aquí la política de comenarios.